В Красноярске снова собираются устанавливать пешеходные ограждения-«заборчики» у переходов. Часть — в рамках программы «Безопасные и качественные дороги», часть закупают отдельно.
«7 канал» изучил документы всех закупок и выяснил — оградки собираются устанавливать на разных участках 16 улиц:
Декабристов, Чайковского, Биатлонная, Ботанический бульвар, Биатлонная, 78 Добровольческой бригады, Взлетная (уже убранное ранее), Крупской, Кутузова, Красномосковской, пер. Светлогорском, ул. Матросова, Киренского, Академгородок, Устиновича, Судостроительная, Корнетова.
В общей сложности на это потратят почти 6 млн руб. — 2,3 млн по федеральной программе и 3,9 млн из городского бюджета.
Примечательна закупка по ул. Биатлонной: там установят 1 км ограждений по федеральной программе. Из документов следует, что это обойдется в 1,77 млн руб.
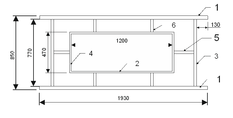
Ограждения по федеральной программе будут прямоугольными и сделаны из металлических труб:

А городские — чуть более сложной формы. Такие, уже привычные, будут на Крупской, Кутузова, Красномосковской и на Светлогорском:

А такие — на Матросова, Киренского, ул. Академгородок, Устиновича и у домов №90 и №52 по Кутузова. В остальных местах будут прямоугольные, как выше.

Как рассказала «7 каналу» пресс-секретарь департамента горхозяйства Светлана Трушкова, город ставит ограждения только у пешеходных переходов, потому что их требует ГИБДД:
«Это только пешеходные переходы и аварийные участки, это не вдоль улицы. Обсуждали [другие варианты с госинспекцией] весь прошлый год, видите, к чему пришли».
Добавим, спор вокруг ограждений разгорелся в прошлом году, когда они появились в плане капремонта пр. Мира, а позже появились на ул. Карла Маркса. Проектировщики снова кивали на госинспекцию, а активисты и простые горожане называли их «кладбищенскими» и даже несколько раз устраивали похороны. По качеству к ограждениям на Маркса тоже возникли вопросы.
Новый мэр Сергей Еремин обещал избавить центр от лишних «заборчиков». В ноябре чиновники насчитали 29 км таких ограждений и начали их сносить — но затем в департаменте горхозяйства пояснили, что речь не об оградках на улицах.
Фото: Леся Никитина / «7 канал»